Jeep just patented an integrated rooftop tent & awning for the Wrangler
Jeep has patented a rooftop tent for the Wrangler! Could this built-in setup change 4WD camping? Here’s what we know so far.
Published on: 11 March 2025
Advertisement
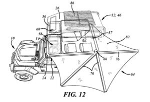
Jeep and 4WDing go together like red dirt and the outback. From the iconic Wrangler to the go-anywhere Gladiator, the brand has always been about adventure. Now, Stellantis – the parent company of Jeep – has filed a US patent for an integrated Jeep rooftop tent system designed for the Wrangler. And this isn’t your standard slap-it-on-a-rack setup. This one fits directly onto the roof, appearing to use the existing mounting points used by Jeep’s removable roof panels.
So, what exactly is Jeep cooking up with this rooftop tent? Let’s break it down.

Traditionally, rooftop tents require an aftermarket roof rack, adding bulk, wind resistance, and a bit of a DIY spirit to your setup. Jeep’s new rooftop tent patent, however, suggests a different approach.
From what we can tell, the design appears to be built into the Jeep’s removable roof itself. Think of it as a hybrid between a camper van pop-top and a rooftop tent. Here’s an excerpt on the Jeep rooftop tent from the patent:
“The tent may be secured directly to the roof of a vehicle without requiring a separate roof rack on the vehicle roof. This reduces weight, can reduce the height of the tent in a stowed position, which can improve vehicle handling and fuel economy, and can simplify the connection of the tent to the vehicle. Further, by enabling the tent to be connected to the vehicle over an opening left by one or more removed roof panels, the tent interior may be accessed within the vehicle. This eliminates the need for a user to leave their vehicle to enter the tent.”

Let’s be real. Jeep owners love modding their rigs. But if you’ve ever installed a rooftop tent, you know it’s not always a simple process. Weight distribution, roof load limits, and aerodynamics all come into play. By designing a rooftop tent into the Wrangler’s roof from the factory, Jeep is essentially eliminating those concerns. This gives outdoor enthusiasts a seamless camping solution.
Plus, this could be a huge win for warranty coverage. One common issue with aftermarket rooftop tents is how they affect a vehicle’s factory warranty – particularly when it comes to roof load ratings. With Jeep engineering this setup themselves, one can assume they’ve factored all that in.

While the rooftop tent patent specifically details a Jeep Wrangler setup, it’s hard not to wonder if this concept could be adapted for the Gladiator as well. As a Gladiator owner myself, I’ll be watching this space with interest!
Given the longer wheelbase and ute-style bed, the design might need some tweaking. Perhaps a tray-mounted version that folds out over the tub or a reinforced cabin option. Either way, if Jeep is going all-in on factory camping solutions, it would be a missed opportunity not to offer something similar for the Gladiator crowd. I shall happily put my hand up to be an Aussie tester – hint hint, Jeep.
At this stage, it’s still just a patent, meaning there’s no guarantee this Jeep rooftop tent will even make it to production. But the fact that Stellantis is even considering a factory-integrated rooftop tent is pretty exciting for the 4WDing and camping world. If it does happen, it could change the way Jeep owners approach off-road camping. It would simplify setups, improve aerodynamics, and eliminate the need for extra gear.
Heck, it could change the way other vehicle owners approach off-road camping, too. A Ford Ranger rooftop tent? An Isuzu D-MAX? A Jimny? What’s next? Is this going to lead to some serious 4WD/pop-top-campervan hybrids?
For now, we’ll just have to wait and see if Jeep takes this rooftop tent from the drawing board to the dirt tracks. But one thing’s for sure – this could be the start of something amazing.

Head to the US Patent Public Search page, enter 20250003250 into the ”quick look-up” section, and then press search. You’ll find a link to the PDF in the results section.